Реле регулятор давления воды в системе водоснабжения. Описание устройства
- Реле регулятор давления воды в системе водоснабжения. Описание устройства
- Реле давления воды для насоса неисправности. В начале рассмотрим устройство и принцип действия бытовой насосной станции.
- Регулировка реле давления воды для гидроаккумулятора. Как настроить давление на реле
- Реле регулятор давления воды в системе водоснабжения для частного дома. Устройство и принцип действия
- Ограничитель давления воды в системе водоснабжения. Настройка
- Электронное реле давления воды для насоса. Подключение реле давления воды
- Видео регулятор давления воды с электронным управлением| Автоматика для насоса| Реле давления воды.
Реле регулятор давления воды в системе водоснабжения. Описание устройства
Устройство практически всех разновидностей реле давления, которыми укомплектованы насосные станции, примерно одинаково. На металлическом основании зафиксированы рабочие элементы насоса:
- Мембрана,
- Поршень,
- Металлическая платформа.
- Электрические контакты.
Также имеется большая и маленькая пружина, все это размещено в пластиковом корпусе.
При подключении реле давления воды процесс протекает по следующему принципу: оказываемое давление заставляет мембрану толкать поршень, который поднимает платформу. Она, в свою очередь, оказывает давление на большую пружину и сжимает ее. Сопротивление большой пружины оказываемому давлению ограничивает движение поршня.

Между большой и малой регулировочной пружиной есть небольшое расстояние, однако его вполне хватает для регулировки работы комплекса приборов. Платформа, на которую воздействует мембрана под давлением, поднимается до края малой пружины.
В результате увеличения давления на платформу меняется ее положение. Это приводит к переключению контактов и изменению режима работы, следовательно, он выключается. Контакты переключаются с помощью специального шарнира с пружинкой. После прохождения платформой уровня расположения шарнира соответственно меняется положение электрических контактов и размыкается цепь электропитания.
В результате отключения насоса прекращается поступление воды. При расходе воды из гидроаккумулятора давление на мембрану постепенно снижается, и платформа начинает опускаться. Опустившись ниже уровня расположения пружинного шарнира электрических контактов, она вновь заставляет контакты подниматься и, соответственно, замыкать цепь. Не помешает знать, какой лучше регулятор давления воды , чтобы сделать правильный выбор.

Насос начинает работать, закачивает воду в гидробак, и цикл повторяется в автоматическом режиме.
Большой и маленькой пружине в механизме отводится своя функция. Большая пружина задает показатель давления, при котором требуется включение насоса, а маленькая пружина определяет разницу между допустимым и необходимым значением давления. Этот показатель очень важен при регулировке реле давления воды для насоса.
Реле давления воды для насоса неисправности. В начале рассмотрим устройство и принцип действия бытовой насосной станции.

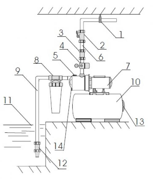
Условные обозначения на рис. 1-опора напорной магистрали, 2-кран, 3-обратный клапан, 4-реле давления, 5-отверстие для залива воды (у Silverjet отсутствует), 6-напорная магистраль, 7-насос, 8- магистральный фильтр, 9-всасывающая магистраль, 10-гидроаккумулирующий бак, 11-вода, 12- обратный клапан с сеточкой, 13-крышка, закрывающая ниппель, 14-отверстие для слива воды.
Поверхностный центробежный электронасос состоит из однофазного асинхронного двигателя и насосной части. Электродвигатель состоит из оребренного корпуса, статора, ротора, конденсаторной коробки и закрытого защитным кожухом вентилятора. Для защиты двигателя от перегрева в обмотку его статора встроено тепловое реле. Насосная часть состоит из корпуса, рабочего колеса и встроенного эжектора. Корпус насосной части, в
зависимости от модели насосной станции выполнен из чугуна, стекло-полипропилена или нержавеющей стали. Гидроаккумулятор состоит из стального резервуара и сменной мембраны из пищевого этилен-пропиленового
каучука. Гидроаккумулятор имеет ниппель для закачки в него воздуха под избыточным давлением. Манометр служит для визуального контроля давления в системе водоснабжения, а реле давления определяет верхний и нижний уровень давления, при достижении которых отключается и включается насос.
Соединение насосной станции с сетью питания осуществляется посредством кабеля со штепсельной вилкой, имеющей заземляющий контакт, и розетки с заземляющим контактом. После установки и включения насосной станции вода заполняет гидроаккумулятор и водопроводную систему. При достижении давления воды в системе верхнего предела настройки реле давления, электронасос отключается. При открытии водоразборного крана, в первый момент времени вода расходуется из гидроаккумулятора. По мере расхода воды давление в системе падает до нижнего предела настройки реле давления, после чего вновь включается электронасос. Вода поступает к потребителю и одновременно заполняет гидроаккумулятор. При достижении давления воды верхнего предела реле давления, электронасос снова отключится. Циклы включения и выключения насоса повторяются до тех пор, пока осуществляется разбор воды из системы.
Для корректной работы насосной станции необходимо на всасывающей магистрали использовать обратный клапан с сетчатым фильтром грубой очистки воды.
Регулировка реле давления воды для гидроаккумулятора. Как настроить давление на реле
Вопросы типа: «Какое давление должно быть в гидроаккумуляторе 100 литров?», читатели задают с завидным постоянством. Мы уже установили, что объём бачка на эти параметры не влияет, так что 50 литров, или 24 – никакой разницы нет. Важно установить датчик, стабилизирующий работу системы, и правильно выставить на нём верхний и нижний предел давления.
Поэтому давайте разберёмся, как настроить реле давления гидроаккумулятора. Процесс зависит от разновидности прибора, который может быть как механическим, так и электронным. В механическом, который представлен на фото сверху, замыкание контактов в цепи питания провоцируется сжатием пружины. Электронный прибор управляется датчиком давления, меняющим электрическое сопротивление сжатием пьезокристалла.
Не смотря на то, что датчик управления давлением сети может находиться достаточно далеко от реле насоса, он всё равно защищает водопровод от утечек и разрушения. В электронном приборе все настройки производятся путём нажатия кнопок на фронтальной панели, а в механическом приходится закручивать гайки.
От того, как отрегулировать реле давления воды с гидроаккумулятором, зависят некоторые очень важные нюансы. При этом можно добиться:
- увеличения вместимости бачка, которая возрастает при увеличении напора;
- продления срока службы мембраны бака за счёт уменьшения значения верхнего давления;
- стабилизации напора воды в кранах и других точках разбора путём уменьшения разности показателей верхнего и нижнего давления на реле, как показано на картинке снизу.
Реле регулятор давления воды в системе водоснабжения для частного дома. Устройство и принцип действия
Для обеспечения водоснабжения частного дома подключение реле осуществляется одновременно к двум системам: водопроводу, электросети. Подключение прибора желательно провести по отдельной линии, тогда будет гарантирована более длительная и бесперебойная эксплуатация оборудования. Основные элементы электромеханического устройства давления воды для насоса:
- пластмассовый корпус;
- муфты для подключения кабеля;
- клеммы для подсоединения провода заземления;
- контакты подключения силовых проводов;
- кнопка ручного выключателя;
- гайка и пружина регулировки давления;
- основание;
- штуцер для подсоединения к системе.

Все управление осуществляется посредством мембраны, которая контактирует с водопроводом и представляет собой тонкую пластинку. Если давление в системе достигает максимального значения, то мембрана мгновенно реагирует и происходит отключение водяного насоса.
Низкий показатель давления не помешает пружине выгнуть пластину в обратную сторону, и произойдет включение помпы. Пружинный блок-реле давления для насоса состоит из двух деталей. В первую входит пружина, которая управляет минимальным значением давления и сдерживает основной напор воды.
Регулировочной гайкой проводится настройка минимального давления. Другой узел представляет собой пружину, которая контролирует максимальное значение, а регулировка осуществляется специальной гайкой. Принцип работы гидрореле заключается в том, что мембрана под действием потока воды проводит смыкание и размыкание контактов, которые включают или выключают помпу.

Происходит это благодаря тому, что реле находится в схеме с гидроаккумулятором, в котором мембрана разделяет воду и сжатый воздух. Когда насос работает, вода через мембрану давит на воздух, создавая некоторое давление, которое уменьшается по мере расхода жидкости. Регулировку проводят, ориентируясь на показания манометра:
- верхний порог давления — 2,8 кг/см²;
- нижнее значение — 1,4 кг/см².
Если настройка будет проведена правильно, то оборудование будет работать в автоматическом режиме без участия потребителя. Время от времени необходимо будет зачищать контакты, так как при длительной эксплуатации они окисляются.
Ограничитель давления воды в системе водоснабжения. Настройка
Для настройки регулятора давления в системе водоснабжения квартиры следует выполнить следующие действия:
- перекрыть все краны на внутреннем водопроводе;
- установить манометр на редуктор или присоединить к внутреннему водопроводу;
- приоткрыть 1 кран так, чтобы расход воды был минимальный, то есть тонкая струйка, не распадающаяся на отдельные капли;
- визуально определить давление в водопроводе по манометру, до начала регулировки;
- снять пробку с отверстия в корпусе, где установлен регулировочный винт;
- вставить инструмент в винт, подходящий по конфигурации;
- для увеличения напора необходимо вращать винт против часовой стрелки, нагрузка пружины на клапан уменьшится, и клапан будет закрываться при большем давлении;
- для уменьшения напора следует вращать винт по часовой стрелке, нагрузка пружины на клапан будет возрастать, и клапан будет закрываться при меньшем давлении;
- произвести пробное пользование водой из крана, для проверки комфорта пользования водой;
- при необходимости скорректировать настройку;
- закрыть пробку заглушки отверстия на редукторе, отсоединить манометр.

У некоторых моделей установлена головка вращения регулировочного винта и даже может иметься шкала с указанием условных величин.
Можно произвести регулировку давления в водопроводе и без манометра. Для этого, после каждого полного оборота регулировочного винта, следует проверить напор из водоразборного крана, в том числе и удар струи по ладоням.
Один оборот винта изменяет величину примерно на 0,5 – 1,0 бар. Для более точной настройки, в конце регулировки, следует делать пол оборота винта.
Этот метод может оказаться даже более приемлемым, ведь напор настраивается, прежде всего, для комфортного пользования водой, в том числе и при мытье рук.
Электронное реле давления воды для насоса. Подключение реле давления воды
Реле давления воды для насоса подключается сразу к двум системам: к электричеству и водопроводу. Устанавливается оно стационарно, так как перемещать прибор нет необходимости.
Электрическая часть
Для подключения реле давления выделенная линия не обязательна, но желательна — больше шансов на то, что работать устройство будет дольше. От щитка должен идти кабель с цельной медной жилой сечением не менее 2,5 кв. мм. Желательна установка связки автомат+УЗО или дифавтомата. Параметры подбираются по току и зависят больше от характеристик насоса, так как реле давления воды потребляет тока очень мало. В схеме обязательно наличие заземления — сочетание воды и электричества создают зону повышенной опасности.

Схема подключения реле давления воды к электрощитку
Кабели заводятся в специальные вводы на тыльной стороне корпуса. Под крышкой находится клеммная колодка. На ней есть три пары контактов:
- заземление — подключаются соответствующие проводники, идущие от щитка и от насоса;
- клеммы line или «линия» — для подключения фазного и нулевого провода от щитка;
- клеммы для аналогичных проводов от насоса (обычно на колодке, расположенной выше).

Расположение клемм на корпусе реле давления воды
Подключение стандартное — проводники зачищаются от изоляции, вставляются в разъем, затягиваются прижимным болтом. Подергав за проводник, проверяют, надежно ли он зажат. Через 30-60 минут болты можно подтянуть, так как медь — мягкий материал и контакт может ослабнуть.
Подключение к трубопроводу
Есть разные способы подключения реле давления воды к водопроводной системе. Самый удобный вариант — установка специального переходника со всеми требуемыми выходами — пятивыводного штуцера. Ту же систему можно собрать из других фитингов, просто готовый вариант всегда использовать площе.
Он накручивается на патрубок на задней части корпуса, к остальным выходам подключают гидроаккумулятор, подающий шланг от насоса и магистраль, которая идет в дом. Можно установить еще грязевик и манометр.

Пример обвязки реле давления для насоса
Манометр — дело нужное — контролировать давление в системе, следить за настройками реле. Грязевик — тоже нужное устройство, но его можно установить отдельно на трубопроводе от насоса. Там вообще желательна целая система фильтров для очистки воды.
При такой схеме при большом расходе вода подается напрямую в систему — минуя гидроаккумулятор. Он начинает заполняться после того, как все краны будут в доме закрыты.